CQ347、CQ947、CQ647長輸管線球閥
產品特點
本系列球閥是根據用戶的需求,為滿足在硫化環境下的抗硫化應力裂化的要求,我們從設計、選材、制造、試驗、表面處理及涂漆都嚴格按美國腐蝕工程師協會NACE的有關標準要求進行。
本系列球閥不僅選材廣泛且內件材料均采用表面鍍鎳或是316材質、密封圈采用特制的聚合物材料。使閥門不僅防腐蝕,抗硫化能力強,防火、防靜電、密封性能好,適用壓力與溫度范圍廣,全通徑與縮徑齊備,并可配多種驅動裝置,是化工、石油煉制,天然氣開采與輸送系統理想的用閥選擇。


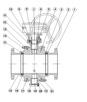
主要零件及材質 Main Parts and Materials
| 序號NO |
零件名稱
Accessorv name |
材質 Material |
| GB |
ASTM |
| 1 |
閥體 Body |
WCB、A105 |
A1 82 F31 6 |
| 2 |
彈簧 Spring |
60Si2Mn |
31 6 |
| 3 |
密封圈 eat |
|
增強聚四氟乙烯 RPTFE |
| 4 |
球體 Ball |
A105+ENP |
A182F316 |
| 5 |
鍵 Key |
45 |
316 |
| 6 |
填料 Stuffing |
PTFE |
PTFE |
| 7 |
閥桿 Stem |
2Cr13+鍍鎳磷 2Cr13+ENP |
316 |
| 8 |
填料壓蓋 Gland |
WCB |
A216-WCB |
| 9 |
支架 Yoke |
WCB A2 |
6-WCB |
| 1O |
壓套 Cover |
A105 |
316 |
| 11 |
“ O”型密封圈“O”Ring |
橡膠 Rubber |
橡膠 Rubber |
| 12 |
滑動軸承 Sliding bearing |
不銹鋼 +PTFE |
316+PTFE |
| 13 |
螺柱 Stud |
35CrMoA |
316 |
| 14 |
螺母 Nut |
35 |
316 |
| 15 |
閥蓋 Bonnet |
WCB A2 |
6-WCB |
| 16 |
閥座 Seat Ring |
A105+ENP |
316 |
| 17 |
墊片 Gasket |
柔性石默 +不銹鋼
Craphite+atainless steel |
柔性石默+316
Craphite+316 |
| 18 |
底蓋 Bottom cover |
A105 |
316 |
| 19 |
固定軸 Fixed spindle |
1Cr13 |
A276-410 |
| 20 |
螺釘 Screw nial |
35 |
316 |
| 21 |
排污螺塞 Blowoffscrew |
25 |
316 |
主要性能及規范 Main Performance and Specification
公稱壓力 PN(MPa) Nominal
pressure |
最高使用壓力 The highest using pressure |
試驗壓力 (MPa)
Test pressure |
壓力級 Pressure class |
最高使用壓力 The highest using pressure |
試驗壓力 (MPa) Test pressure |
| (Mpa) |
殼體
Shell |
高壓液密封
High-pressure liquid sealing |
低壓氣密封
Low-pressure hermetic sealing |
(Mpa) |
殼體 Shell |
高壓液密封
High-pressure liquid sealing |
低壓氣密封
ow-pressure hermetic sealing |
| 1.6 |
1.6 |
2.4 |
1.76 |
0.6 |
CLASS150 |
1.94 |
2.94 |
21.6 |
0.6
|
| 2.5 |
2.5 |
3.75 |
2.75 |
CLASS300 |
5.1 |
7.67 |
5.62 |
| 4.0
|
4.0
|
6.0
|
4.4 |
CLASS600 |
10.2 |
15.3 |
11.23 |
| 6.4 |
6.4 |
9.6 |
7 |
CLASS900 |
15.1 |
23 |
16.85 |
| 1O.0
|
10.0
|
1.5 |
1.1 |
CLASS1500 |
25.1 |
37.5 |
27.5 |
| 應用規范 pplicable specification |
結度長度核 |
CB12221-89 ANSI B16.10 |
| 法蘭尺寸按 |
JB79-59 GB 9113 HG20592-97 ANSI B16.5 |
| 焊接標準按 |
CB12224-89 ANSI B16.25 |
| 檢驗試驗按 |
JB/T 9092-89 API 598 |
適用工況 Applicable
Operating Mode |
適用介質 Applicable medium |
天然氣、液化氣、石油等介質 |
適用溫度
Applicable temperature |
-28℃~≤150℃ |
| 驅動方式 Driving manner |
蝸輪傳動、氣動、電動、氣液聯動等 |