| GL41H蒸汽過濾器 |
![]() |
||||||||||||||||||||||||||||||||||||||||||||||||||||||||||||||||||||||||||||||||||||||||||||||||||||||||||||||||||||||||||||
|
◆產品特點
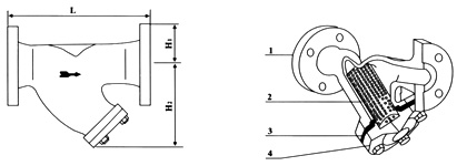
Y型過濾器過濾網采用不銹鋼雙層網結構,堅固耐用,具有結構先進、流阻小、排污方便等特點,可用于水、蒸氣、油品、硝酸、尿素、氧化性介質等多種介質。要根據用戶需要設置過濾網的目數,一般通水網為18-30目,通氣網為40-100目,通油網為100-480目。Y型過濾器還可與伸縮節組成具有安裝長度可調節的Y型拉桿伸縮過濾器??砂从脩粢笾谱鳛V網
◆執行標準
設計規范:HG/T 21637
結構長度:GB/T 12221
連接法蘭:JB/T 79
試驗與檢驗:JB/T 9092
產品標識:GB/T 12220
供貨規范:JB/T 7928
一、特點
1、抗污性強,排污方便;流通面積大,壓力損失??;結構簡單,體積小。重量輕。
2、濾芯網材質。均為全不銹鋼制作。耐腐蝕性強。使用壽命長。 3、過濾網密度:為l0—120目,介質:蒸汽、空氣、水、油品、或根據用戶要求定做。 4、伸縮型特點:拉伸長度。最大位置可移伸100mm。有利于安裝方便。提高工作效率。 二、主要零件部件材料表
![]() 三、技術參數表
|
||||||||||||||||||||||||||||||||||||||||||||||||||||||||||||||||||||||||||||||||||||||||||||||||||||||||||||||||||||||||||||
免責聲明:以下信息由企業自行提供,內容的真實性、準確性和合法性由發布企業負責。鍋爐信息網對此不承擔任何保證責任。



