| SY4P-Y型過濾器 |
![]() |
||||||||||||||||||||||||||||||||||||||||||||||||||||||||||||||||||||||||||||||||||||||||||||||||||||||||||||||||||||||||||||||||||||
|
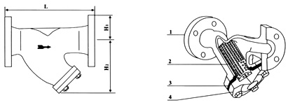
◆產品用途
Y型過濾器是使用水力控制閥及精密的易堵塞的機械產品所必須具備的過濾設備。是輸送介質的管道系列不可缺少的一種裝置,通常安裝于水力控制閥、減壓閥、泄壓閥、定水位閥等設備的進口端,用來消除介質中的雜質,防止顆粒性雜質進入通道,造成墻塞,以保護設備管道上的配件免受磨損和堵塞
◆產品特點
Y型過濾網采用不銹鋼雙層網結構,堅固耐用,具有結構先進、流阻小、排污方便等特點,可用于水、蒸氣、油品、硝酸、尿素、氧化性介質等多種介質。要根據用戶需要設置過濾網的目數,一般通水網為18-30目,通氣網為40-100目,通油網為100-480目。Y型過濾器還可與伸縮節組成具有安裝長度可調節的Y型拉桿伸縮過濾器。可按用戶要求制作濾網
◆執行標準
設計規范:HG/T 21637
結構長度:GB/T 12221
連接法蘭:JB/T 79
試驗與檢驗:JB/T 9092
產品標識:GB/T 12220
供貨規范:JB/T 7928
一、特點
1、抗污性強,排污方便;流通面積大,壓力損失小;結構簡單,體積小。重量輕。
2、濾芯網材質。均為全不銹鋼制作。耐腐蝕性強。使用壽命長。 3、過濾網密度:為l0—120目,介質:蒸汽、空氣、水、油品、或根據用戶要求定做。 4、伸縮型特點:拉伸長度。最大位置可移伸100mm。有利于安裝方便。提高工作效率。 二、主要零件部件材料表
![]() 三、技術參數表
|
||||||||||||||||||||||||||||||||||||||||||||||||||||||||||||||||||||||||||||||||||||||||||||||||||||||||||||||||||||||||||||||||||||
免責聲明:以下信息由企業自行提供,內容的真實性、準確性和合法性由發布企業負責。鍋爐信息網對此不承擔任何保證責任。



