 |
|
產品型號:
|
PK-10 |
|
產品名稱:
|
快速排氣閥 |
|
產品特點:
|
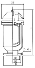
本產品設計合理,結構簡單,體積小,排氣量大,我廠在原基礎上進行大量改進,使KP型更完美,產品合格率可達100%。用于管道最高點或閉氣的地方來排除管內氣體su通管道,使管道運轉正常,出水量達到設計要求,如不裝此產品,管內氣體形成氣阻使管道出水量達不到設計要求。管道在運轉時出現停電,停泵管道隨時會出現負壓力會引起管道振動或破裂,該排(吸)氣閥就快速吸入大量空氣,防止管道振動或破裂,確保管路安全。 |
|
當水進入管內時,浮球停在球桶下部進行大量排氣,當氣排完時,水進入閥內通過球桶把球浮起關閉,停止排氣,管道在正常運轉時自然會產生少量氣體,這些氣體會集中到管內上部到相當程度,閥內水與球隨時下降,氣從不局限性排隊出。
1、介質:清水
2、使用溫度常溫
3、閥體:灰鑄鐵HT200
4、浮球與塞頭:不銹鋼
5、密封材料,丁腈橡膠。
6、閥體強度試壓,1.5Mpa
7、密封試驗壓力0.05-1.1Mpa
三、排氣量表 (按每秒流速成.1.5-3.0米計算)
|
規格
|
25
|
50
|
80
|
80
|
100
|
150
|
|
200立方米/小時
|
4-8
|
11-22
|
22-40
|
42-60
|
61-122
|
83-166
|
|
|
免責聲明:以下信息由企業自行提供,內容的真實性、準確性和合法性由發布企業負責。鍋爐信息網對此不承擔任何保證責任。