用途:
先導式安全泄壓閥是一種新穎結構的安全閥。主要用于石油天然氣、化工、電力、冶金和城市燃氣等領域,是受壓設備、容器或管路上的最佳超壓保護裝置。其主要優點是變彈簧直接作用為導閥間接作用,提高了動作的靈敏度,而且主閥采用套筒活塞式,雙重密封閥座結構,動作精度高、重復性好、回座快、不泄漏、能帶高背壓排放、工作等命長、工作穩定可靠,它還可在線調校,反復啟跳排放后,仍然能自動回座,關閉嚴密,操作維護方便。
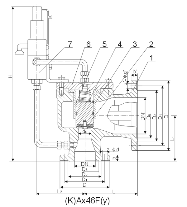
主要零部件材料:
| NO. | 零件名稱 | Ax46Y/F 材料 | KAX46Y/F材料 |
| 1 | 閥體 | WCB | WCB |
| 2 | 閥瓣 | 2Cr13/2Cr13+PTFE | 1Cr18Ni9Ti/1Cr18Ni9Ti+PTFE |
| 3 | 導向套 | 1Cr18Ni9Ti | 1Cr18Ni9Ti |
| 4 | 彈簧 | 50CrVA | 50CrVA |
| 5 | O型圈 | 氟橡膠 | 氟橡膠 |
| 6 | 閥蓋 | 25 | 25 |
| 7 | 導閥 | 部件 | |

外形尺寸和連接尺寸:
| 型號 | 公稱通徑 | do | L | L1 | L2 | H | DN' | D | D1 | D2 | D6 | b | Z-ød | D' | D1' | D2' | D6' | b' | Z'-ød' | ||||
AF46Y-16 |
25 | 15 | 110 | 95 | 150 | 365 | 32 | 115 | 85 | 65 | 16 | 4-14 | 140 | 100 | 78 | 18 | 4-18 | ||||||
| 32 | 20 | 115 | 100 | 150 | 375 | 40 | 140 | 100 | 78 | 18 | 4-18 | 150 | 110 | 85 | 18 | 4-18 | |||||||
| 40 | 25 | 120 | 110 | 160 | 390 | 50 | 150 | 110 | 85 | 18 | 4-18 | 165 | 125 | 100 | 20 | 4-18 | |||||||
| 50 | 32 | 135 | 120 | 160 | 410 | 65 | 165 | 125 | 100 | 20 | 4-18 | 185 | 145 | 120 | 20 | 4-18 | |||||||
| 65 | 40 | 160 | 140 | 175 | 435 | 80 | 185 | 145 | 120 | 20 | 4-18 | 200 | 160 | 135 | 20 | 8-18 | |||||||
| 80 | 50 | 170 | 135 | 175 | 451 | 100 | 200 | 160 | 135 | 20 | 8-18 | 220 | 180 | 155 | 22 | 8-18 | |||||||
| 100 | 65 | 195 | 175 | 195 | 500 | 125 | 220 | 180 | 155 | 22 | 8-18 | 250 | 210 | 185 | 24 | 8-18 | |||||||
| 125 | 80 | 210 | 190 | 220 | 526 | 150 | 250 | 210 | 185 | 22 | 8-18 | 285 | 240 | 210 | 24 | 8-23 | |||||||
| 150 | 100 | 255 | 230 | 265 | 623 | 175 | 285 | 240 | 210 | 24 | 8-23 | 315 | 270 | 240 | 26 | 8-23 | |||||||
| 200 | 125 | 300 | 260 | 300 | 690 | 250 | 340 | 295 | 265 | 26 | 12-23 | 405 | 355 | 320 | 30 | 12-26 |
免責聲明:以下信息由企業自行提供,內容的真實性、準確性和合法性由發布企業負責。鍋爐信息網對此不承擔任何保證責任。


